Мирный переворот
Самыми востребованными игрушками до сих пор являются прорывные новинки прошлого.

Никто не считал, сколько игрушек было придумано в мире даже за последние десять лет, не говоря уже о вчерашнем веке. Несомненно, что многие тысячи. Но лишь единицы смогли изменить глобальный рынок и создать вокруг себя культ и отдельную индустрию. Представляем пять таких революционных изобретений, до сих пор находящихся в топе.
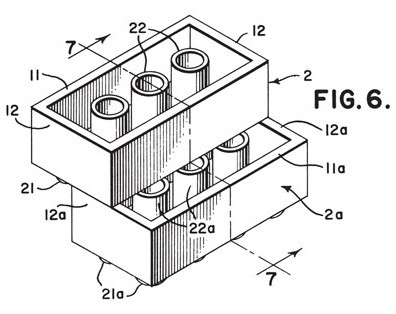
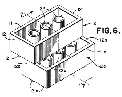
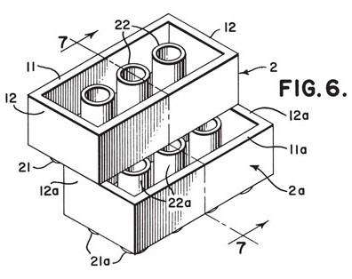
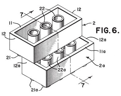
1Lego
- Когда: 1949 год
- Что: самый универсальный конструктор
- €4,9 млрд составил оборот Lego Group в 2018 году
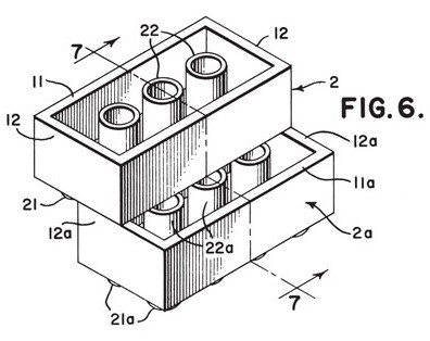
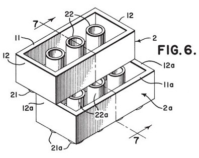
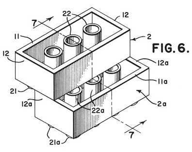
Название Lego образовано от датских слов «leg godt» — «играть с увлечением». Датчанин Оле Кирк Кристиансен, создавший этот бренд, начинал с изготовления деревянных игрушек. Переворот случился, когда он взял на вооружение английский патент на кубики из пластика, которые можно сцеплять друг с другом. В 1946 году Кристиансен закупил оборудование для производства пластиковых игрушек и усовершенствовал иностранную конструкцию. В 1949 году компания Lego выпустила свои первые «кирпичики» в четырех цветах с 4 и 8 шипами. Революция заключалась в универсальном принципе взаимного сцепления: элементы Lego можно соединять как угодно и собирать из них что угодно: здания, транспортные средства, фигуры. С тех пор компания семьи Кристиансен продала столько «кирпичиков», что, если поделить их между всеми людьми мира, на каждого пришлось бы примерно 70 штук.
«Это не просто конструктор, а целая игровая система, — комментирует Алиса Лобанова, учредитель TOY.RU. — Абсолютно безопасные и продуманные до мелочей конструкторы Lego остаются самым желанным подарком для детей. Недаром девизом компании стала фраза, сказанная ее основателем: «Только лучшее достаточно хорошо». Каждую секунду в мире продается семь конструкторов Lego, каждый год завод Lego в Биллунне производит 20 млрд «кирпичиков». В 2000 году Британская ассоциация продавцов игрушек назвала Lego «Игрушкой века». Подсчитано, что все дети мира, владеющие Lego, в сумме проводят в увлекательных занятиях с ним 5 млрд часов в год. По оценке Brand Finance, с 2015 года Lego неизменно возглавляет список самых мощных брендов игрушек в мире. Мощность выражается в том числе и в выручке — в 2018 году оборот Lego Group составил 36,4 млрд датских крон, или около €4,9 млрд.
2Barbie
- Когда: 1959 год
- Что: первая в мире кукла в виде взрослой девушки
- $1 млрд в год зарабатывает компания Mattel на бренде Barbie
Барби придумала Рут Хэндлер, жена основателя компании Mattel. Ее не устраивало, что девочкам приходится играть с куклами-младенцами и примерять на себя роль только матери, в то время как мальчики могут разыгрывать сцены из жизни пожарных или астронавтов. Новинку представили на Нью-Йоркской ярмарке игрушек, где ее приняли прохладно — в топе были куклы в образе маленьких детей. Однако за первый же год Mattel продала 350 000 кукол. Потом у Барби — опять-таки впервые в истории игрушечного рынка — появились бойфренд, современный дом, машина, подруги, работа и множество
